- 产品详情
- 相关产品
一:产品参数

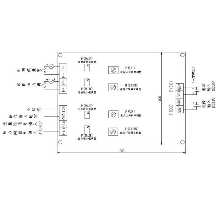
二:产品接线图
1.外部指令输入信号0~10VDC加到fin或pin端,信号输入地接0V端, P+,P-端或F+,F-端输出脉宽调制电流信号驱动比例压力阀或流量阀线圈。
2.工作电源P(DC)端子接入DC24V。F(DC)端子接入DC48V,如果当比例流量阀的内阻为43.5欧或者比例流量阀的电流需要0.6A以上时,DC电源输入需要接入DC36-48V;若内阻为20欧以内的则F(DC)端子接入为DC24V即可。
3.在调整压力和流量时强烈建议使用选择1A的直流电流表(1A /DC),以作为调整的依据。
4.控制信号输入仅列出两种常用的调整方式,仅能选择其中的一种方式进行做控制。
A:直接由控制器(PLC)输出0—10VDC的模拟量到比例板上做控制。
B:使用可变电阻(10-50K),连接到板子上的+12V输出做控制。
三:调整方法

1: Fmin和Pmin 最小值调节
当控制信号输出为0V时,调整至所需的电流值或者压力值,即通常所说的底流量和底压力值。(顺时针调整,输出增加)
2: Fmax和Pmax 最大值调节
当控制信号输出为10V时,调整至所需的电流值或者压力值。(顺时针调整,输出增加)
3: UP 上升斜率调节
顺时针调整,上升时间短,反应速度快。
逆时针调整,上升时间长,反应速度慢。
4:DOWN 下降斜率调节
顺时针调整,下降时间短,反应速度快。
逆时针调整,下降时间长,反应速度慢。
四:特别说明
放大器工作环境应有通风散热装置,以提高其使用寿命及稳定在最佳工作状态!
